找回密码
 立即注册
澳门威尼斯人
U8
U18
海燕招商
A
蓝盾
e世博
islot.
申博亚洲
澳门银河
B
腾博会
德信
C级广告商
吉祥坊
查看: 3040|回复: 89

[彩票] 比特彩票走势不定艰难收904元

[复制链接]

88

主题

2838

回帖

1182

金币

铜牌用户

积分
9709

老会员

发表于 2026-2-28 19:42 | 显示全部楼层 |阅读模式

马上注册,结交更多好友,享用更多功能,让你轻松玩转社区。

您需要 登录 才可以下载或查看,没有账号?立即注册

×
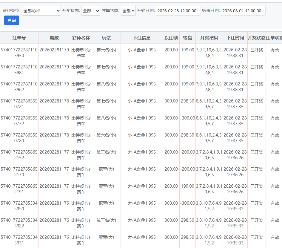
晚上继续着 70-150-200-300-500的战略彩票下注 三定位两面玩法,输了一直往上推到500赢后则从赢时的注码往下推到最低70的位置,投注9000多才收904元;
, ~0 C" X9 _6 E) l
! \7 R7 f8 p5 U% h$ b+ x6 a4 d7 W- Z) q+ B
2.png 3.png 1.png
; p) E, j# R3 |3 d

评分

参与人数 1金币 +8 收起 理由
海燕RG + 8 实战分享

查看全部评分

回复

使用道具 举报

3508

主题

2万

回帖

1万

金币

版主

积分
96073

优秀版主老会员版主勋章超级精华

发表于 2026-2-28 19:50 | 显示全部楼层
主要还是要看胜率,否则很难扛得住了
回复 支持 反对

使用道具 举报

232

主题

1万

回帖

3969

金币

千足金牌会员

积分
48782

老会员

发表于 2026-2-28 20:13 | 显示全部楼层
这次幸运的,下次就得要再稳点才行呀
回复 支持 反对

使用道具 举报

1459

主题

1万

回帖

1万

金币

千足金牌会员

积分
59488

老会员财富勋章精华勋章交易勋章热心会员魅力达人

发表于 2026-2-28 20:29 | 显示全部楼层
这样的盈利已经很不错了
回复 支持 反对

使用道具 举报

9

主题

2万

回帖

7340

金币

铂金用户

积分
86882

光影行者

发表于 2026-2-28 20:36 | 显示全部楼层
这节奏太折磨人了,推注推到500才回血,9000砸下去就捞900多,心疼钱包
回复 支持 反对

使用道具 举报

9

主题

2万

回帖

7340

金币

铂金用户

积分
86882

光影行者

发表于 2026-2-28 20:36 | 显示全部楼层
笑看人生 发表于 2026-2-28 20:291 T7 Q3 |, R! N! s: k# E
这样的盈利已经很不错了
4 n% `, D# ]9 X# P: r2 v7 l
能稳住900+已经算硬核了,这走势能抠出来真不容易
回复 支持 反对

使用道具 举报

9

主题

2万

回帖

7340

金币

铂金用户

积分
86882

光影行者

发表于 2026-2-28 20:36 | 显示全部楼层
hy188820 发表于 2026-2-28 20:13. u1 Q1 o; E8 ?' C+ w3 e2 b
这次幸运的,下次就得要再稳点才行呀
6 r2 i% \8 m$ r& |4 ?# r, \
走势飘忽确实难搞,稳着来才能细水长流,下次别急着冲
回复 支持 反对

使用道具 举报

619

主题

1万

回帖

4537

金币

千足金牌会员

积分
42265

老会员

发表于 2026-2-28 23:27 | 显示全部楼层
如此丰厚的回报令人赞叹,这是楼主的实力
回复 支持 反对

使用道具 举报

619

主题

1万

回帖

4537

金币

千足金牌会员

积分
42265

老会员

发表于 2026-2-28 23:28 | 显示全部楼层
蔬菜沙拉 发表于 2026-2-28 20:36
4 M6 H. A5 A7 i! }$ H走势飘忽确实难搞,稳着来才能细水长流,下次别急着冲

. {: n) S( n' |( j" Z: K! x. }9 P# h# I
能长期保持盈利状态就实属难得
回复 支持 反对

使用道具 举报

5

主题

1万

回帖

6209

金币

千足金牌会员

积分
51124
发表于 2026-3-1 02:25 | 显示全部楼层
这推注玩法投九千多才收九百出头,走势不定真够磨人的,这收益和投入比看着也挺闹心
回复 支持 反对

使用道具 举报

5

主题

1万

回帖

6209

金币

千足金牌会员

积分
51124
发表于 2026-3-1 02:26 | 显示全部楼层
一路前行 发表于 2026-2-28 23:280 A) Y5 ?" z7 h2 _
能长期保持盈利状态就实属难得

1 Y, C' e3 [. F/ z1 v) @9 @走势那么飘能长期稳着赚真不容易,这次收904也算是熬过来了,别贪稳着来就好
回复 支持 反对

使用道具 举报

1664

主题

8万

回帖

1万

金币

海燕硕士

积分
251232

万时之王老会员精华勋章勤奋勋章交易勋章光影行者

发表于 2026-3-1 05:37 | 显示全部楼层
可以赢这么多钱也是非常厉害的了。
回复 支持 1 反对 0

使用道具 举报

1664

主题

8万

回帖

1万

金币

海燕硕士

积分
251232

万时之王老会员精华勋章勤奋勋章交易勋章光影行者

发表于 2026-3-1 05:37 | 显示全部楼层
蔬菜沙拉 发表于 2026-2-28 20:36
/ ]9 ^" A6 I# c- T: K5 F- l走势飘忽确实难搞,稳着来才能细水长流,下次别急着冲
! \6 u" G) p7 P8 {5 k$ d0 [
希望是可以能够保持住这样的好运气吧
回复 支持 反对

使用道具 举报

1664

主题

8万

回帖

1万

金币

海燕硕士

积分
251232

万时之王老会员精华勋章勤奋勋章交易勋章光影行者

发表于 2026-3-1 05:37 | 显示全部楼层
一路前行 发表于 2026-2-28 23:27/ u$ R  v  N' f" x! J( q+ l
如此丰厚的回报令人赞叹,这是楼主的实力

( \7 j- X# `& f  I6 d* x, e' c楼主确实是非常有实力的玩家了呢。
回复 支持 反对

使用道具 举报

1664

主题

8万

回帖

1万

金币

海燕硕士

积分
251232

万时之王老会员精华勋章勤奋勋章交易勋章光影行者

发表于 2026-3-1 05:37 | 显示全部楼层
一路前行 发表于 2026-2-28 23:284 \( ?8 T% t  A- s8 G
能长期保持盈利状态就实属难得
& t% L6 R  I8 g, G8 P& B/ Q9 ]4 ~  g
这个确实是非常难得的事情了呢。
回复 支持 反对

使用道具 举报

您需要登录后才可以回帖 登录 | 立即注册

本版积分规则

广告合作|福利汇|论坛简介|钱包教程|手机版|小黑屋|Archiver|海燕论坛

快速回复 返回顶部 返回列表